
現在Webミーティングではネックスピーカーの内蔵マイクを使用しています。位置的にはラベリアマイク(ピンマイク)と同等なので音声は明瞭でミーティングでも不評を買ったことはありません。しかし、これが故障したらどうなるでしょう。ネックスピーカーの場合、故障がスピーカーでもマイクでも買い替えは最低でも15,000円程度の出費になります。
ネックスピーカーは、ミーティング音声を聞きつつも外部環境音も聞き取りたいというリモートワークには最適なソリューションだと思っています。しかし、こと故障に関してはスピーカーとマイクを分離した方が経済的なのは間違いありません。
そこでスピーカーを空気伝導のオープンイヤー型イヤホンにします。問題なのはマイクです。Youtube配信をやる訳ではないので、いくら音質が良くても高額のコンデンサーマイクは敷居が高すぎます。しかし、有線ラベリアは付けているのを忘れてコードをビーーンとか、無線ラベリアは高いし、気付かず付けたまま外出して失くしたり、何かと面倒な事が起きます。
しかし、顔の近くになければならない以外、アナログの有線ラベリアはコストパフォーマンス最高だと思うのです。だからラベリアマイクを口元20cm~30cmの空中に固定できるアームを目標1,000円以内で自作することにしました。
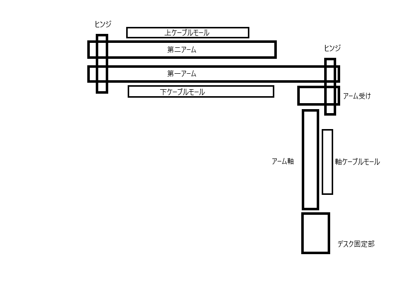
ここでは専門的な工具が無く、基本的なDIY工具だけを保有している前提で設計します。設計と言っても脳内設計で図面などありゃしません。概ねこんな感じで作ろうと思います。

購入材料の合計は713円で、ホームセンターの明細は以下です。
- アーム桧材(5×15×600)150円×1本
- アーム軸桧材(9×15×600)180円×1本
- 0号配線モール(60cm)130円×1本
- アーム関節用M4ボルト(20mm)35円×1個
- アーム軸関節用M4ボルト(25mm)40円×1個
- M4ナット 9円×2個
- M4ワッシャー 6円×2個(使いませんでした)
- M4プラ座金 160円×1袋
他にデスクサイドに固定するパーツはこれまでのDIYで余った端材を利用し、各種固定に両面テープやエポキシパテ、美装ではウッドパテ、水性塗料や水性ニスを使用しますが、これらの予備在庫を持っていない場合は結構な出費になるのでご注意ください。
脳内設計図に従い部材を基本加工した写真が以下です。

それぞれのパーツの長さは自分のデスク環境に合わせて調整します。今回はほぼフィーリングでサイズを決定しています。軸の配線モールはマイクケーブルの柔軟性を見てから後で加工します。ヒンジの構造は精密にするとかなりの金額と重量になりそうなので、今回はプラ座金とグリスで回すことにしました。ヒンジの脳内設計はこんな感じです。

材に3mmドリルビットで穴を空け、工作用丸ヤスリで少し広げるか、3.5mmのネジを一回通すなどしてM4ボルトがねじ込めるようにします。仮組みしてテストしてみましたが、アームを動かすとナットあるいはボルトが供回りしてどんどん緩んできました。座金のグリスを効かすにはナットを固定してボルトを強く締めた方が良いので、ナットをアームに半埋めしてからエポキシパテで固定します。


2025年12月28日 追記:
他のギミックを作成している時に気づいたのですが、エンドを固定ナットにしても供回りする場合、更にバネ座金(スプリングワッシャー)とナットを追加して締めると供回りしなくなります。

また、回転止めが無いとアームが360度回ってしまうため、アーム受けに回転止めを設置しました。第二アームは取っ手が無いと引き出しにくいため、小さなハンドルを追加しました。
改善点はあったものの構造的には脳内設計どおり達成できそうなので、部材を塗装していきます。段差や傷にウッドパテを盛って切削して下地を整え、アサヒペン水性多用途(艶消しブラック)で本塗り、和信の水性ウレタンニス(艶消しクリア)でコートしていきます。

本組みしたのがこちら(裏側になります)。第二アームに付いている白い爪みたいなのは、マイク重量、木材の伸縮、ヒンジの緩み等で第二アームが下がり第一アームとクロスアングルになった場合、それでも乗り上げて収めるためのカタパルトです。これも仮組みで判明したので追加しました。

デスクに仮設置したのが以下です。モニターもモニターアームもブラックで絵面が分かりづらいので白いプラ板を挟んで撮影しています。

正直、脳内設計部分はそこそこ上手くいきましたが、一番苦労したのはデスクサイドへの固定です。とにかく既存設備を加工しない、傷つけない、デスク領域を狭めない、を目標にしたので使えるのは両面テープと木端材だけです(後日改良版ではボルト・ナットとビスも使用)。
デスクサイドが天板だけで、ある程度デスク領域を侵食して良いならやりようは多いのですが、自分のデスクサイドは天板のすぐ下にスチール角パイプが通っているため、デスク領域を狭めない場合は補強材が複雑になります。
特にアームのような構造は重心が軸の外側にあるため、軸の揺れやねじれが原因で両面テープがすぐに剥がれてしまいます。また、デスクサイドの面がどうなっているかはデスクによるため、一番苦労した割に「おま環」メソッドでしかなく、あまり説明しても意味がありません。それでも概要をお伝えすると下右図のような感じです。

さて、設置できたらいよいよラベリアマイクを購入しましょう。自分が購入したのはSONY ECM-PC60というマイクです。もう10年以上も仕様を変えずに売られ続けている定番商品です。Yodobashiで2,520円でした。

自分のPCはフロントパネルに4極ヘッドセットジャックがありますが、3極プラグのECM-PC60はそのままでは使えません。また、常設デバイスはフロントを使わないように決めているのでUSB-DACを買います。USB-DACというのは簡単に言うと信号をアナログからデジタルへ変換してUSB Audio信号にするものです。
USBタイプのマイクには必ずどこかにこの基板が入っています。言い換えるとUSBタイプのマイクを買うごとにUSB-DACも漏れなく買っていることになります。だから概ねアナログ有線マイクより高くなります。

今回USB-DACとしては「Sound Blaster Play! 3」を購入しました(Sound Blasterってこんなとこで生きてたんですね)。Yodobashiで1,820円でした。ECM-PC60は3極プラグなのでPlay 3の3極マイクジャックに差し込みます。Windows11では「Play 3のマイク」というデバイスとして認識されます。Play 3はハイレゾ対応なので何か得した気分になります。
第二アームの先端にマイクを固定して、ケーブルをモールに通してマイクプラグをPlay 3へ接続すれば完成です。マイクの固定方法はダサくなければ何でも良いです。今回は廃品から切り取ったソケット部品を加工して使用しましたが、マイクヘッドが軽いので直接両面テープでも構わない気がします。

最大限に伸ばすとデスクを縦断して口元から10cmくらいまで来ます。Webミーティングではかなりクリアに声が送れています。また、第二アームだけを直角に展開すると口元から40cmくらいに来ますが、これでも普通レベル(きれいなマイク音声と感動してはくれないが聞き取りづらいとも言われないレベル)の会話が可能です。アナログだと40cmはかなり小さな声になると思いますが、おそらくUSB-DACやミーティングアプリの補正が効いているのだと思います。ECM-PC60の音質には満足しています。
さて、今回は「なるべくダサくない」アームがテーマでしたので、なるべくダサくならないポイントをまとめてみると以下になります。
- ごつい感じにならないよう薄い材を使用する
- 材の角を切りっぱなしではなく丸くする
- ボルトはプラス頭ではなく六角頭にする
- モールは塗料と同じ色にする(あるいは同色に塗る)
- 塗料は艶消しにする
- 塗装は筆塗り刷毛塗りではなくスポンジ塗りにする
- 乗せすぎた塗料は吸収用の別スポンジでかきとる
- 本塗り3回ニス2回くらいは最低でもやる
- とりあえずダサくないと自分に言い聞かす
使用した工具類や消耗材は以下です
- ノコギリとカッター
- 電動ドライバーと3mmドリルビット
- ヤスリとサンドペーパー
- L字六角レンチ3mm(六角頭のM4ボルトを回す)
- 剪定鋏(モールを簡単に切るため)
- シリコングリス(座金に塗る)
- 木工用ボンド(軸と受けの接着や補強材を作る)
- エポキシパテ
- ウッドパテ
- パテヘラ
- 両面テープ(様々な太さ厚さ強度で各種)
- マスキングテープ
- アサヒペン水性多用途カラー(つや消し黒)
- 和信水性ウレタンニス(つや消しクリア)
- PPカップ(塗料を少量入れる)
- キッチン用スポンジ(細切りしたもので塗料を塗る)
- 100均ニトリルゴム手袋(手汚れ防止)
- キッチンペーパー(色々と拭う)
- 様々な木端材(パーツ加工やドリル下敷きに)